隼星科技有限公司
隼星科技檢校實驗室
22200新北市深坑區北深路三段107巷27-1號
電話:02-77562033
傳真:02-26620618
電郵:geo.star@msa.hinet.net
Line ID:jimmy886
22200新北市深坑區北深路三段107巷27-1號
電話:02-77562033
傳真:02-26620618
電郵:geo.star@msa.hinet.net
Line ID:jimmy886
WeChat微信:geostar886
WhatsApp:+886 980 827 613

5200 Tipping Bucket Rain Gauge 不鏽鋼傾斗式雨量計(自記式雨量計)
Model 5200
描述
Specifications 規格表
|
規格
|
5200 不鏽鋼傾斗式雨量計(自記式雨量計)
|
單位
|
|
型號
|
5200
|
|
|
承雨口內徑
|
200
|
mm
|
|
雨量靈敏度
|
0.2 / 0.5 / 1.0 (可選)
|
|
|
本體外徑
|
210
|
|
|
本體高度
|
540
|
|
|
本體重量
|
4
|
kg
|
|
傾斗計量誤差
|
<3
|
%
|
|
接點工作壽命
|
>1,000,000
|
次
|
|
工作溫度
|
-10~60
|
℃
|
|
輸出訊號
|
脈衝訊號 (Pulse)
|
|
|
外筒材質
|
300系列不鏽鋼
|
|
|
系統整體精度
|
降雨強度於0-20mm/h時為±0.5mm ; 降雨強度>20mm/h時為量度範圍之±3%
|
|
|
對應測讀儀
|
PCT111 / 9020 | |
|
附件
|
筒蓋*1,擋葉金屬網*1, 內六角扳手*1
|
|
|
選購品
|
雨量計立柱、太陽能板、太陽能充電器、蓄電池
|
Odering Info 產品與配件選購
|
產品型號
|
品名
|
單位
|
備註
|
|
5200P-CI
|
雨量計戶外型立柱 (鑄鐵含烤漆)
|
根
|
|
|
5200P-ST
|
雨量計戶外型立柱 (不鏽鋼)
|
根
|
|
|
PCT111
|
脈衝自記式集錄器
|
台
|
1小時取樣頻率壽命可達1年以上
|
PDF Download 型錄下載
|
Brochure
|
|
|
校驗報告 |
|
計算公式 |
|
操作手冊
|
產品簡介
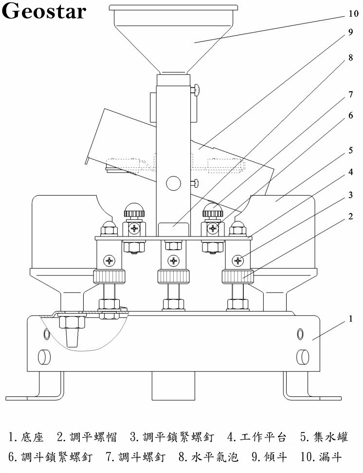
Geostar 5200 不鏽鋼傾斗式雨量計(Tipping Bucket Rain Gauge)係以特別設計之計量傾斗的翻轉次數來計算降雨量。當雨水下降並累積達到傾斗標稱容量時,其重量產生足以翻轉傾斗的力量,同時以另一側傾斗順勢接替來承載雨量;並藉由傾斗翻傾之動作觸發磁簧開關所發送之脈衝(pulse)訊號來計算次數(如每次0.5mm雨量)。本產品的機械構件簡單、耗電量少,適合長期持續性雨量自動化觀測。
特點:
-
儀器易於安裝設定、簡單、可靠
-
低耗電量
-
工作平台附水平氣泡儀
-
不鏽鋼外殼
-
搭配PCT111可以外接LoRA、Zigbee、藍牙、3G/4G DTU等無線傳輸模組
Model 5200 不鏽鋼傾斗式雨量計說明圖




.jpg)





(3)_200x200.jpg)